Informacije o proizvodu
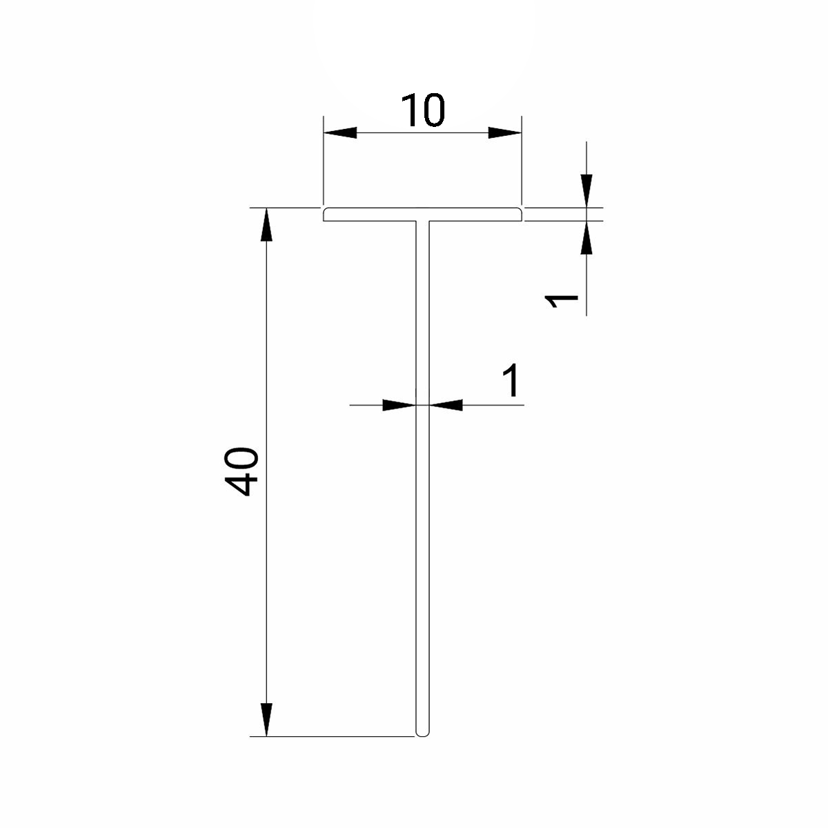
T - 08 aluminijumski vezni profil za radnu ploču sa spoljašnjim radijusom 3mm.
Al Profil T 08 namenjen je za spoj radnih ploča debljine 40mm, u istoj ravni.
Površina aluminijumskog profila T-08 je glatka.
Završna obrada: hemijska eloksaža.
Boja: srebro mat.
Dužina profila: 60,8cm.
* Cena se odnosi na 1 komad profila.







































































