Informacije o proizvodu
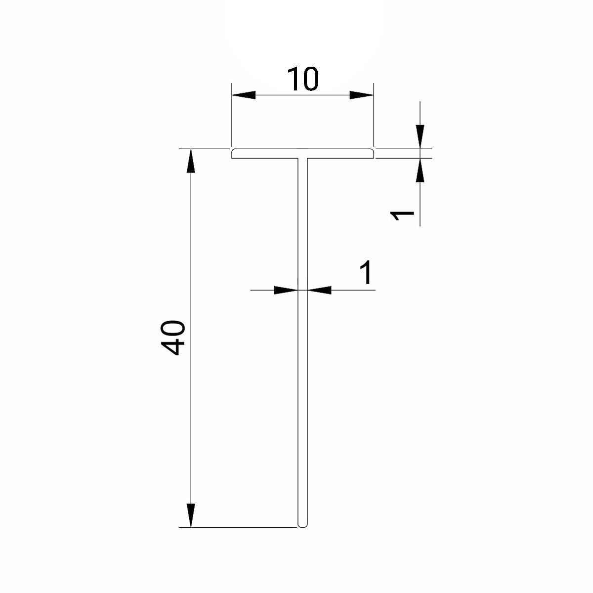
T - 08 aluminijumski vezni profil za radnu ploču sa spoljašnjim radijusom 3mm.
Al Profil T 08 namenjen je za spoj radnih ploča debljine 40mm, u istoj ravni.
Površina aluminijumskog profila T-08 je glatka.
Završna obrada: crna mat plastifikacija
Dužina profila: 60,8cm
* Cena se odnosi na komad artikla.







































































